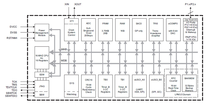
TI(대표이사 켄트 전)는 센싱 및 측정 애플리케이션에서 배터리 수명을 연장할 수 있는 새로운 MSP430FR2311 마이크로컨트롤러(MCU)를 출시한다고 밝혔다. 이 신제품은 단 50pA의 전류를 소모하는 낮은 누설 전류의 트랜스임피던스 증폭기(TIA, transimpedance amplifier)를 통합한 업계 유일의 MCU다. 초저전력 MSP430™ MCU 제품군에 추가된 이 새로운 마이크로컨트롤러는 여타 전압 및 전류 감지 솔루션보다 20배 낮은 누설 전류를 제공하고, 배터리 수명이나 보드 공간을 낭비하지 않으면서 아날로그 기능과 메모리를 유연하게 구성할 수 있다.
개발자들은 유연한 설정이 가능한 아날로그가 내장되어 있는MCU 솔루션을 이용해 회로를 간소화하고 PCB 공간을 최대 75%까지 절약할 수 있다. MSP430FR2311 MCU는 ADC, OP 앰프, 비교기, TIA 등의 아날로그 기능을 통합하여 개발자가 광범위한 센서에 연결할 수 있게 한다. 또 이 솔루션은 FRAM(Ferroelectric Random Access Memory) 기술을 탑재하였고, 외부 크리스탈이 필요 없으며, 단일 3.5mm x 4mm 패키지에 제공된다. 이 단일 칩 솔루션은 설계 복잡성과 전체 프로젝트 개발 시간을 줄여준다.
.jpg)
MSP430FR2311 MCU는 개발자가 필요로 하는 증폭기 설정(비반전, 반전 또는 트랜스임피던스)을 선택할 수 있고, 애플리케이션 코드나 데이터에 할당하는 메모리 양을 선택해 애플리케이션을 조정할 수 있어 플래시와 RAM 비율에 얽매일 필요가 없다. 고객은 Code Composer Studio™ 통합 개발 환경(IDE)과 IAR 임베디드 WorkBench®에 의해 지원되는 MSP430FR2311 MCU 론치패드(LaunchPad)™ 개발 키트를 이용해 단 몇 분 내에 개발을 시작할 수 있다. 또한 포토다이오드와 TIA 구성을 사용해 전류를 감지하는 MSP430FR2311 연기 감지 서브시스템 레퍼런스 디자인(2016년 2분기 공급 예정)을 이용해 애플리케이션을 구현할 수 있다. 이밖에 의료용 헬스 및 피트니스, 건물 자동화, 개인용 전자기기를 개발하는 고객은TI 에너지 하베스팅 IC(bq25570)와 MSP430FR2311 MCU를 기반으로 만들어진 TI Designs 레퍼런스 디자인(TIDA-00242)을 사용하면 배터리 수명을 더욱 연장할 수 있다.
현재MSP430G2x 계열 MCU의 2KB 및 4KB 디바이스를 사용하는 고객은 MSP430FR2311 MCU로 손쉽게 설계를 마이그레이션 할 수 있으므로 비휘발성 FRAM 및 ADC, 비교기 등 더 많은 아날로그 기능이 내장된 높은 성능을 활용할 수 있다. MSP430F2xx 및 MSP430G2xx 시리즈로부터 기능을 쉽게 이전할 수 있는 마이그레이션 가이드가 제공되어 보다 많은 아날로그 기능이 필요한 경우 제품군 간에 간편하게 이동할 수 있는 방법을 배울 수 있다.
가격 및 공급시기
MSP430FR2311 MCU는 TIA를 탑재한 디바이스 제품군 중 첫 번째 제품으로 TI store에서 샘플을 구입할 수 있다. 이 MCU 가격은 1,000개 수량 기준으로 0.65달러부터 시작된다. MSP430FR2311 MCU 론치패드 개발 키트는 TI store에서 15.99달러에 구입할 수 있다.
<저작권자(c)스마트앤컴퍼니. 무단전재-재배포금지>